三年成全免费高清观看电视剧影视大全-三年大片高清影视大全-三年在线观看大全免费高清-三年中文在线观看免费大全电视剧!

用心打造裝飾行業管理軟件優秀品牌

建立良好合作關系第一步:提高供貨質量和按時交貨率

      當企業自身在給別的企業或個人供應的同時,自身也是需要上游供應商的,在整個大市場的供應鏈中,每個企業都不能脫離其他企業而獨立求得生存和發展。和自己的供應商建立良好穩定的合作關系是很重要的一步,不但能提高供貨質量和按時交貨率,而且能降低采購成本。供應商管理是企業管理中的一部分,企業要做好每個部分的管理才能實現整體管理的突破。對供貨商而言,ERP可以在市場策略及客戶訂單承諾等方面提供有力的支持。
 
 
 
市場策略
 
生產計劃的改變對物料需求、產品交貨時間、人力、設備等方面的影響是巨大的。在ERP供應商管理下,生產規劃數據和產品成本數據是經營規劃的根本依據,ERP根據實際的銷售量、生產量和庫存量統計分析,可以監測經營規劃的實際執行情況,企業根據此項分析很容易就建立一份長期的采購計劃和供應計劃,并以此為基準來監測,起到事先計劃、事中控制、事后分析的作用。在財務方面ERP把生產計劃、物料需求計劃、人力需求計劃按成本核算可以預測之后所需的材料費和人工費,以此來規劃應付款期限,做出合理的資金配置。
 
 
 
保障客戶訂單承諾
 
在原始手工管理之下,很難做到對供應每一個環節的全局把控與協調、快速響應客戶的需求并按時交貨,更不要提縮短產品的生產提前期。運用ERP的供應商管理,生產人員可以和市場需求達到高度契合。市場部可以了解到生產部門能夠生產什么和正在生產什么,而生產部門也了解市場需要什么。市場部門只要把客戶的訂貨量和需求日期輸入ERP,生產部門則會反饋準確交貨信息,保障了對客戶訂單的承諾及時、可靠。供應商管理系統除了提高企業生產管理水平和工作質量,也讓產品的質量得到提高。工作人員在自己的崗位上井然有序地執行一個工作計劃時,產品質量的提高是不言而喻的。有利于對于建立良好穩定的合作關系。
 
 
 
 
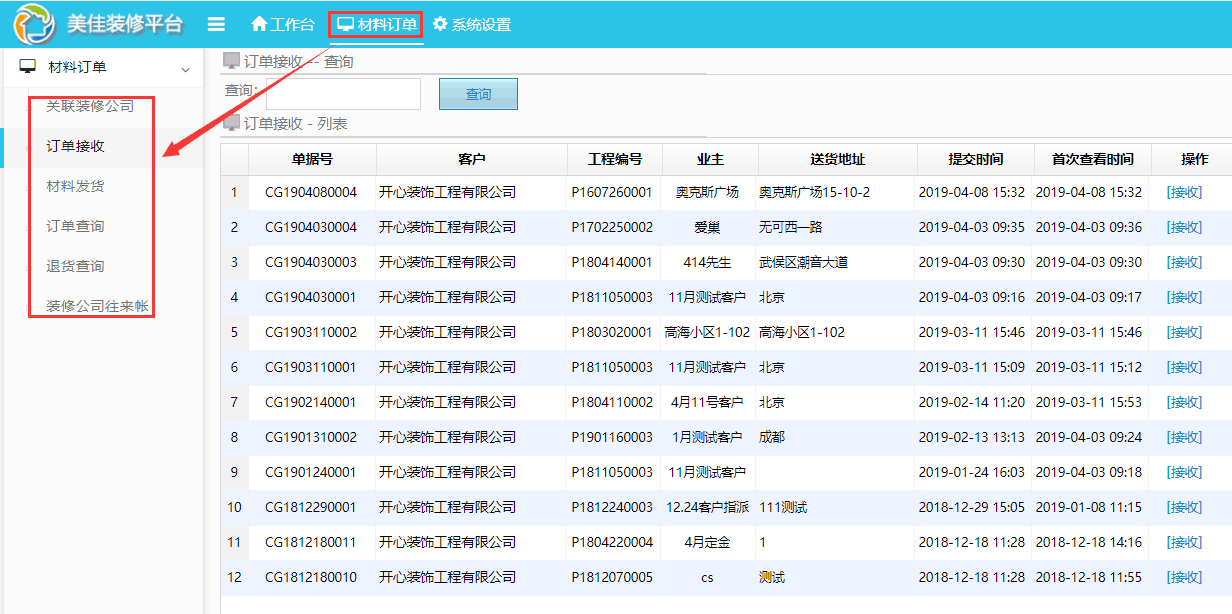
      當需要供應的企業發來材料訂單時,系統會給我們發來消息提醒,我們就可以進入【材料訂單】查驗金額和材料后點擊【接收】。接收訂單之后,根據雙方的情況協商交貨時間,在約定時間內按時發貨,并在系統內勾選上【發貨】。這樣采購材料的企業也能清楚的看到發貨情況。
 
 
 
     美佳云裝ERP企業管理系統從下單到最后的收貨付款,整個流程簡潔方便,一看就知道怎么操作。打通了采購方和供應方的連接,雙方工作情況都能及時有效的跟進和處理,信息實時透明,實現雙方共贏。
 

 

客服
QQ
電話
咨詢電話:400-080-9923
TOP