美佳云裝工裝項目管理,以項目為核心,將材料、勞務等成本把控為主,采用“網頁版+APP+微信端”模式,協同工作平臺,實現不同業務主體的統一管理,平臺以統一、直觀、匯總的方式,將一個項目從投標階段一直到竣工、售后階段的各個環節貫穿起來,以使管理人員可以即時掌握項目的進展情況、發現的問題,并對項目中的各關鍵節點、流程進行控制,確保進度、成本、質量、安全可控。
措施管理
通過措施總控計劃管理,從源頭控制成本,實現在措施費付款與結算得到有效把控,超出成本可智能預警提醒。

勞務管理--勞務成本總控
勞務成本總控、勞務發票管理、勞務結算等在成本總控下有序進行支付審批、結算審批,實現勞務成本有效管理,無紙化辦公讓辦公效率更高效,同時系統將自動生成相關報表統計。

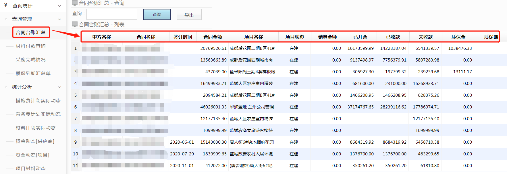
統計分析查詢統計
查詢統計下的報表包含:合同臺賬匯總、材料付款查詢、采購完成情況、質保到期匯總單等,自動生成數據報表統計,通過報表呈現的數據可快速了解項目進程中相關數據明細。

統計分析包含:措施、勞務費計劃實際動態、材料計劃實際動態、資金動態【供貨商】、資金動態【項目】、項目成本綜合、勞務數據分析等報表,實現所有數據自動生成報表,領導層可隨時查詢項目運營情況,成本與實際支出等數據對比。
微信移動辦公,不受辦公場地限制,實現隨時隨地均可辦公,待辦事項均可通過微信自動提醒,讓辦公變得更加高效。同時通過微信小程序管理也實現了輕量化辦公。
